Описание
Характеристики
Отзывы
Описание
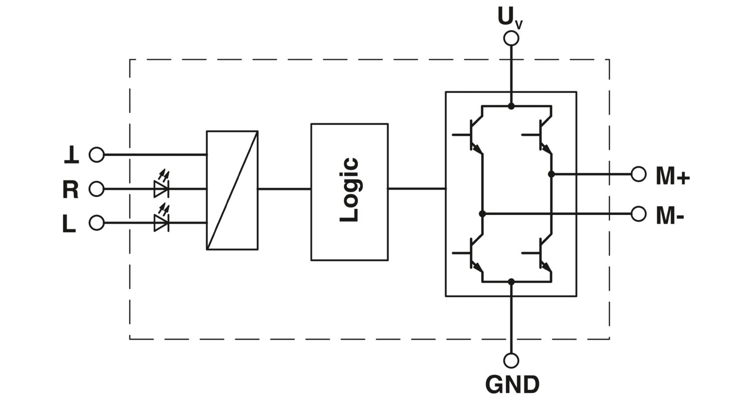
PLC-INTERFACE в качестве электронного реле реверсирования нагрузки, состоит из основной клеммы PLC-BPT.../21 с зажимом push-in и встроенной схемой, для управления двигателями пост. тока со световым индикатором и защитной схемой, выход: 10 — 30 В DC/2 A
Характеристики
Штрих-код
4055626744865
Габариты (ДxШxВ, см):
6.5x80x94
Номер артикула
1069556
статус на складе в Германии
На складе
Упаковочная единица
1
Минимальное количество, предусмотренное условиями заказа
1
Вес/шт. (с упаковкой)
54,8 g
Вес/шт. (без упаковки)
38,9 g
Цвет
серый (RAL 7042)
Валюта
RUR
Самовывоз
нет
Дата обновления
2026-01-30T12:41:53.573
Ссылка на сайт производителя
https://www.phoenixcontact.com/ru-pc/produkty/rele-reversirovania-nagruzki-plc-pt-elr-w1-2-24dc-1069556
Категория перенапряжения
II
Степень загрязнения
2
Расчетное импульсное напряжение
0,5 кВ
Макс. мощность потерь при номинальных условиях
0,4 Вт
Тип подключения
Зажимы Push-in
Длина снятия изоляции
10 мм
Сечение жесткого провода
0,14 мм² ... 2,5 мм²
Сечение проводника AWG
26 ... 14
Сечение гибкого провода
0,14 мм² ... 2,5 мм²
Класс воспламеняемости согласно UL 94
V0
Условия окружающей среды
Условия окружающей среды
Температура окружающей среды (при эксплуатации)
-25 °C ... 60 °C
Температура окружающей среды (хранение/транспорт)
-40 °C ... 85 °C
Тип монтажа
Установка на монтажную рейку
Номер таможенного тарифа
85371098
Страна происхождения
DE
Серия изделий
PLC-INTERFACE
Указание
Предусмотреть защиту питающего напряжения на выходе с помощью соответствующего предохранителя.,
защищенный от короткого замыкания, защищенный от перегрузки
Расчетное напряжение изоляции
50 В
Режим работы
100 % ED
Изоляция
Основная изоляция
Стандарты / нормативные документы
МЭК 60664
Защитная схема
Защита от переполюсовки,
Защита от перенапр.,
Защита от переполюсовки; Диод защиты от переполюсовки (Отсутствует длительная защита от подключения с неправильной полярностью)
Индикация рабочего напряжения
LED зел.
CE
CE
Сертификат
Соответствие требованиям ЕС,
Соответствие требованиям UKCA
UKCA
UKCA
Указания по монтажу
устанавливаются в ряд без промежутков
Монтажное положение
Вертикально (монтажная рейка горизонтальная)
Изоляционные характеристики: Воздушный путь и путь утечки между цепями
Изоляционные характеристики: Воздушный путь и путь утечки между цепями
Воздушный путь и путь утечки между цепями
Воздушный путь и путь утечки между цепями
Питание
Питание
Ток короткого замыкания
15 A (для тормозного устройства)
Индикатор состояния
СИД (желт.)
Номинальное напряжение цепи управления UC
24 В DC
Номинальный ток цепи управления IC
3 мА
Время включения, типовое
200 мкс
Частота передачи
300 Гц
Степень защиты
IP20
Ограничение верхнего предела напряжения
33 В DC
Ток длительной нагрузки
2 A (См. график завис. пар.)
Ограничение износа
Ограничение износа
Указание по ЭМС
ЭМС: продукт класса А, см. декларацию производителя в разделе загрузок
Расчетное напряжение питания цепи управления US
24 В DC
Ток нагрузки
2 A
Ток покоя
10 мА
Производитель
Phoenix Contact
Количество фаз
1
Ключ изделия
DK7621
Товар поставляется стандартно
true
Поддерживается на складе в Германии
Да
Преимущества
Реверсирование без износа|Выход с защитой от коротких замыканий, перенапряжений и перегрузок|Торможение путем управления обоими входами|Встроенная блокирующая и нагрузочная схема
Совместимые товары_1
ссылка на артикул2966786, ссылка на артикул2966692, ссылка на артикул2966838, ссылка на артикул2966236, ссылка на артикул2966812, ссылка на артикул2966825, ссылка на артикул2967688, ссылка на артикул2966508, ссылка на артикул2966841, ссылка на артикул0801733, ссылка на артикул0801681, ссылка на артикул1204119, ссылка на артикул1204122, ссылка на артикул0801704, ссылка на артикул1206421, ссылка на артикул1206434, ссылка на артикул0801762, ссылка на артикул1206560, ссылка на артикул1201730, ссылка на артикул1201714, ссылка на артикул0806602, ссылка на артикул1204135, ссылка на артикул1201756, ссылка на артикул1206599, ссылка на артикул1206586, ссылка на артикул1201895, ссылка на артикул1206573, ссылка на артикул1201798, ссылка на артикул1204517
рекомендуется заказать также
ссылка на артикул0203519,ссылка на артикул0812007,ссылка на артикул1407014,ссылка на артикул3026256,ссылка на артикул3206678,ссылка на артикул3273012,ссылка на артикул5031605
Управление
Управление
Выход DC
Выход DC
Наименование, вход
Питание устройства,
Вход управляющего сигнала, справа / слева
Диапазон напряжения срабатывания
19,2 В DC ... 28,8 В DC
Диапазон рабочих напряжений
10 В DC ... 30 В DC
Диапазон напряжения питания цепи управления
19,2 В DC ... 28,8 В DC
Время переключения RL/LL (время включения)
80 мс
Расчетное импульсное напряжение Ue
24 В DC
Расчетный рабочий ток (Выход нагрузки)
2 A
Переключающий выход электродвигателя
Переключающий выход электродвигателя
Все характеристики
Отзывы
Отзывов еще никто не оставлял
