Описание
Характеристики
Отзывы
Описание
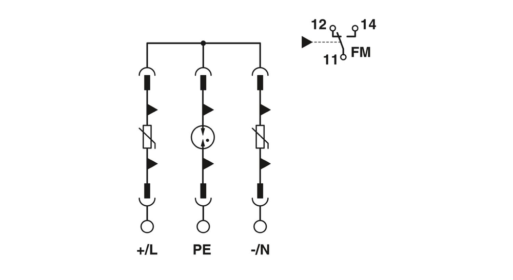
Вставной разрядник защиты от перенапряжений без тока утечки для 2-пол. изолированных и заземленных систем с линейной рабочей характеристикой до 120 В пост. тока, монтаж на DIN-рейке, 3-полюсный базовый элемент с контактом удаленного оповещения, три вставных варистора с контролем температуры, индикаторы состояния на каждом штекере.
Характеристики
Штрих-код
4055626539973
Габариты (ДxШxВ, см):
37.3x97.9x74.5
Номер артикула
1033788
статус на складе в Германии
На складе
Номинальное напряжение UN
100 В DC ... 120 В DC
Упаковочная единица
1
Минимальное количество, предусмотренное условиями заказа
1
Вес/шт. (с упаковкой)
293,2 g
Вес/шт. (без упаковки)
287,57 g
Валюта
RUR
Самовывоз
нет
Дата обновления
2026-01-28T08:26:56.557
Ссылка на сайт производителя
https://www.phoenixcontact.com/ru-pc/produkty/razradnik-dla-zasity-ot-impulsnyh-perenaprazenii-tip-2-val-sec-t2-2f-120dc-fm-1033788
Изоляционные характеристики
Изоляционные характеристики
Категория перенапряжения
III
Степень загрязнения
2
Тип подключения
Винтовые зажимы,
Вилочный наконечник,
Штекерное / винтовое подключение COMBICON
Резьба винтов
M2,
M5
Момент затяжки
4,5 Нм,
0,25 Нм
Длина снятия изоляции
7 мм,
16 мм
Сечение жесткого провода
2,5 мм² ... 25 мм²,
0,14 мм² ... 1,5 мм²
Сечение проводника AWG
28 ... 16,
12 ... 4
Сечение гибкого провода
0,14 мм² ... 1,5 мм²,
2,5 мм² ... 16 мм²,
1,5 мм² ... 6 мм²
Высота
≤ 6000 м (amsl)
Класс воспламеняемости согласно UL 94
V-0
Изоляционный материал
PA6.6-FR 20% GF
Условия окружающей среды
Условия окружающей среды
Температура окружающей среды (при эксплуатации)
-40 °C ... 80 °C
Температура окружающей среды (хранение/транспорт)
-40 °C ... 80 °C
Тип монтажа
Монтажная рейка: 35 мм
Номер таможенного тарифа
85363090
Страна происхождения
DE
Серия изделий
SEC Family
Допустимая отн. влажность воздуха (при эксплуатации)
5 % ... 95 %
Полюсов
2
Указание
2011,
2012
Степень защиты
IP20
Производитель
Phoenix Contact
Материал корпуса
PA 6.6-FR 20 % GF
Удары (при эксплуатации)
30г (Полусинусоида / 11 мс / 3x ±X, ±Y, ±Z)
Вибрация (при эксплуатации)
5г (10 ... 500 Гц / 2,5 ч / X, Y, Z)
Стандарты/нормативные документы
МЭК 61643-11,
EN 61643-11
Ключ изделия
CL1353
Товар поставляется стандартно
true
Поддерживается на складе в Германии
Да
Конструкция
Модуль для установки на монтажную рейку, состоящий из двух частей, закрепляется на защелках
Макс. длительное рабочее напряжение UC
150 В DC,
135 В AC (при эксплуатации в аварийном освещении)
Преимущества
Универсальная серия систем защиты от перенапряжений с оптимальной энергетической координацией, от молниезащитных разрядников до защиты устройств|Простое обслуживание благодаря универсальным штекерным защитным модулям|Быть хорошо информированным благодаря механико-оптическому индикатору состояния и контакту дистанционной сигнализации|Больше свободного места в шкафу управления благодаря узкой конструкции шириной всего 12 мм на полюс|Благодаря отсутствию тока утечки отсутствует влияние на контроль изоляции
Совместимые товары_1
ссылка на артикул3022218, ссылка на артикул0803452, ссылка на артикул0803453, ссылка на артикул2809128, ссылка на артикул2749576, ссылка на артикул2749589, ссылка на артикул0825059, ссылка на артикул0803595, ссылка на артикул1452282, ссылка на артикул0811228, ссылка на артикул1206463, ссылка на артикул2907878, ссылка на артикул1052632
рекомендуется заказать также
ссылка на артикул0824286,ссылка на артикул1005407,ссылка на артикул1115540,ссылка на артикул1580244
Индикатор / дистанционная сигнализация
Индикатор / дистанционная сигнализация
Наименование, подключение
Контакт для дистанционной передачи сигнала неисправности
Рабочее напряжение
5 В AC ... 250 В AC (Высота над уровнем моря ≤ 2000 м)
Рабочий ток
5 мA AC ... 1 A AC
Класс испытания согл. МЭК
II
Тип EN
T2
Система энергоснабжения IEC
DC
Сообщение, неисправность устройства для защиты от импульсных перенапряжений
световая, контакт для дистанционной передачи сигнала
Величина CTI материала
600
Группа материала
I
Номинальный импульсный ток утечки In (8/20) мкс
20 кA
Максимальный импульсный ток утечки Imax (8/20) мкс
40 кA
Макс. напряжение при длительной нагрузке UCPV
150 В DC
Стойкость к короткому замыканию ISCPV
1000 A
Длительный ток ICPV
10 мкA
Защитная цепь
(DC+) - (DC-)
Mаксимальный отводимый импульсный ток ITotal (8/20) мкс
40 кA
Цвет (Базовый элемент)
серый (RAL 7042)
Цвет (Штекер)
cветло серый (RAL 7035)
Направление действие
(DC+/DC-) - PE
Номинальный ток IL
40 A (Вилочный кабельный наконечник Biconnect M4, 6 мм²)
Ток защитного проводника IPE
≤ 5 мкA
Уровень защиты Up (DC+) - (DC-)
≤ 1,8 кВ
Уровень защиты Up (DC+/DC-) - PE
≤ 1,3 кВ
Время срабатывания tA (DC+) - (DC-)
25 нс
Время срабатывания tA (DC+/DC-) - PE
100 нс
Стойкость к короткому замыканию ISCCR
0,2 кA (без входного предохранителя)
Макс. номинал входного предохранителя при подключении ответвлений
20 A (gG/B при ISCCR 200 A)
EN 61643-11
EN 61643-11
Дополнительные технические данные
Дополнительные технические данные
Функция переключения
Переключающий контакт
Контакт для дистанционной передачи сигнала неисправности
Контакт для дистанционной передачи сигнала неисправности
Характеристика TOV при UT
174 В DC (5 с / режим устойчивости)
Макс. номинал входного предохранителя при V-образном проходном подключении
20 A (gG/B при ISCCR 200 A)
Импульсное напряжение срабатывания при 6 кВ (1,2/50) мкс (DC+/DC-) - PE
≤ 1,1 кВ
Все характеристики
Отзывы
Отзывов еще никто не оставлял
